-
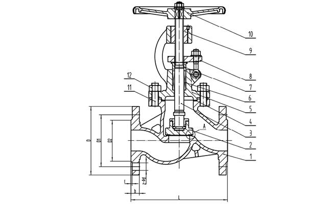
精密鑄造閥體
閥體為精密鑄造閥體,二次拋丸處理、外觀精細,無沙眼;
-
精密加工內件
內件數控精密設備加工,保證精度;
-
實心重體
閥體均為實心重體;
-
倒密封處理密封更好
閥蓋和閥桿接觸的地方做倒密封處理,密封性更好;
-
外表銀白光亮耐腐蝕
每臺閥體進行表面酸洗鈍化處理,使鑄件外表呈均勻銀白光亮色澤,保持金屬光澤, 提高耐蝕性;
-
雙層壓力檢測
每臺閥門出廠均按照國家標準做殼體、密封雙層壓力檢測。
-
-
-
產品優點
產品介紹
截止閥的閥桿軸線與閥座密封面垂直,閥桿開啟或關閉行程相對較短,并具有非常可靠的切斷動作,使得這種閥門非常適合作為介質的切斷或調節及節流使用;不銹鋼截止閥是截止閥的一種,對閥體材質要求比較高一般有304、316等幾個材質選擇,廣泛應用于化工、船舶、醫藥、食品機械等行業。
產品參數
| 執行標準 | 名稱 | 設計及制造 | 結構長度 | 試壓標準 | 連接法蘭尺寸 | |||||
| 參照標準 | GB/T 12235 ANSI B16.34 |
GB/T 12221 ASME B16.10 |
GB/T 13927 API 598 |
JB/T 79 ASME B16.5 |
||||||
| 主要零部件信息 | 名稱 | 閥體 | 閥板 | 閥桿 | 閥座密封 | 手輪 | ||||
| 材質及說明 | 304 | 304 | 304 | 304 | DI | |||||
| 尺寸信息 | 公稱尺寸 | PN16 | 150LB | |||||||
| DN | NPS英寸 | L | D | D1 | Z-φd | L | D | D1 | Z-φd | |
| 50 | 2'' | 230 | 160 | 125 | 4-18 | 203 | 152 | 120.5 | 4-19 | |
| 65 | 2 1/2'' | 290 | 180 | 145 | 4-18 | 216 | 178 | 139.5 | 4-19 | |
| 80 | 3'' | 310 | 195 | 160 | 8-18 | 241 | 190 | 152.5 | 4-19 | |
| 100 | 4'' | 350 | 215 | 180 | 8-18 | 292 | 229 | 190.5 | 8-19 | |
| 125 | 5'' | 400 | 245 | 210 | 8-18 | 356 | 254 | 216 | 8-22 | |
| 150 | 6'' | 480 | 280 | 240 | 8-22 | 406 | 279 | 241.5 | 8-22 | |
| 200 | 8'' | 600 | 335 | 295 | 12-22 | 495 | 343 | 298.5 | 8-22 | |
| 250 | 10'' | 650 | 405 | 355 | 12-26 | 622 | 406 | 362 | 12-25 | |
| 300 | 12'' | 750 | 460 | 410 | 12-26 | 698 | 483 | 432 | 12-25 | |
語言:簡體中文
English
Русский
簡體中文












