-
高彈性閥座橡膠
閥座橡膠含膠率50%,經仿真啟閉實驗1萬次以上,無泄漏。
-
閥體壁厚厚度達標
閥體壁厚滿足GB 26640的要求,厚度達標,承壓強度有保障。
-
不銹鋼閥體適用更復雜工況
閥體采用不銹鋼材質,強度更強,韌性更好,耐腐蝕性好,可應用于更復雜的工況,耐高低溫性能更好。
-
不銹鋼蝶板耐腐蝕
采用不銹鋼碟板,耐腐蝕性能更好,更美觀。
-
獨立的二維碼標識
每一臺產品從配件到成品都有獨立的二維碼標識。通過掃碼可以查詢產品生產過程中每個階段的檢驗結果,產品質量可追溯。
-
提供材質檢驗報告
所有般德的產品,均可提供主要零部件的材質檢驗報告。
-
-
-
產品優點
產品介紹
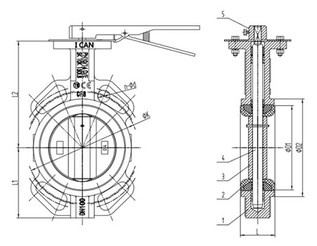
般德不銹鋼對夾蝶閥D71X-10/16P,產品配置:對夾不銹鋼閥體,CF8板,SS420軸,EPDM閥座,球鐵方孔手柄。廣泛應用于給排水、水處理、水利工程等領域。
產品參數
D71X-10/16P不銹鋼對夾蝶閥參數信息
| 執行標準 | 名稱 | 設計及制造 | 結構長度 | 試壓標準 | 上法蘭尺寸 | 側法蘭尺寸 | ||||||
| 參照標準 | GB/T 12238 | GB/T 12221 | GB/T 13927 | ISO 5211 | CL150、PN6/10/16、 5/10K、Table D/E |
|||||||
| 零部件信息 | 名稱 | 1-閥體 | 2-閥座 | 3-蝶板 | 4-閥軸 | 5-手柄 | ||||||
| 材質 | CF8 | EPDM | CF8 | 420 | DI | |||||||
| 尺寸信息 | 公稱尺寸 | L | L1 | L2 | ΦD1 | ΦD2 | PN 10 | PN 16 | ||||
| DN | NPS(英寸) | ΦK | n-Φd | ΦK | n-Φd | |||||||
| 50 | 2" | 43 | 71 | 129 | 73.3 | 87.1 | 125 | 4-Φ18 | 125 | 4-Φ18 | ||
| 65 | 2 1/2" | 46 | 79 | 136 | 86 | 100.4 | 145 | 4-Φ18 | 145 | 4-Φ18 | ||
| 80 | 3" | 46 | 95 | 153 | 100.9 | 116 | 160 | 8-Φ18 | 160 | 8-Φ18 | ||
| 100 | 4" | 52 | 110 | 167 | 132 | 147.6 | 180 | 8-Φ18 | 180 | 8-Φ18 | ||
| 125 | 5" | 56 | 122 | 193 | 156 | 172 | 210 | 8-Φ18 | 210 | 8-Φ18 | ||
| 150 | 6" | 56 | 141 | 209 | 185.4 | 202 | 240 | 8-Φ22 | 240 | 8-Φ22 | ||
產品專利
新型蝶閥閥體專利 CN201520267217.9
般德閥門專利閥體,蝶閥閥體能適用于主要工業國家對管道側法蘭的規定安裝,增加了蝶閥的適用范圍。
防飛出閥桿專利 CN201822244366.X
般德閥門專利防飛出閥桿結構,能防止因流體介質的壓力太大導致閥桿脫離飛出,增加閥門的安全可靠性。
語言:簡體中文
English
Русский
簡體中文












