-
主體材質達標
主體材質化學成分和力學性能達到國家規定標準要求,保化驗;
-
產品精度有保障
所有閥體及零部件均采用數控機床加工并通配互換,確保產品精度;
-
閥門可長期儲存
整臺產品裝配前用煤油和防銹油經高壓噴射清洗,試壓后清洗試壓介質,噴上防銹油,內腔清潔度達到JB/T7748標準要求,符合閥門長期儲存要求;
-
閥門出廠試壓
每臺閥門出廠必須按照國家標準試壓,不合格產品絕不出廠;
-
專用螺紋封堵保護
每臺閥門均采用專用螺紋封堵保護,杜絕在運輸過程中出現連接螺紋損傷;
-
可定制螺紋
可根據客戶需求提供G螺紋、NPT螺紋、BSP等定制螺紋。
-
-
-
產品優點
產品介紹
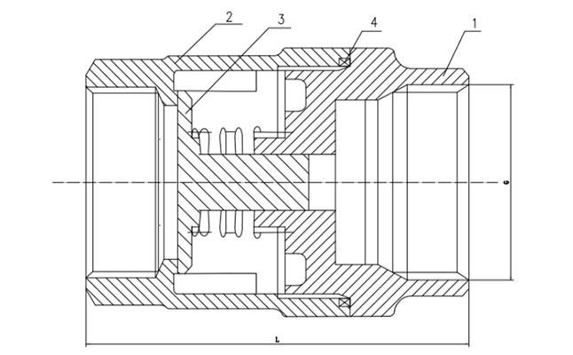
H12W不銹鋼絲扣立式止回閥是一種較普遍的止回閥,垂直立式安裝,其閥瓣沿著中心定位作升降運動,動作靈活可靠。
產品參數
| 執行標準 | 設計及制造 | 試壓標準 | ||
| GB/T 12235 | GB/T 13927 | |||
| 主要零部件信息 | 1-主閥體 | 2-閥座閥體 | 3-閥板 | 4-墊片 |
| CF8 | CF8 | 304 | PTFE | |
| 尺寸信息 | 公稱尺寸 | PN16 | ||
| DN | NPT | L | ||
| 15 | 1/2'' | 59 | ||
| 20 | 3/4'' | 67 | ||
| 25 | 1'' | 78 | ||
| 32 | 1 1/4'' | 90 | ||
| 40 | 1 1/2'' | 99 | ||
| 50 | 2'' | 117 | ||
| 65 | 2 1/2'' | 148 | ||
| 80 | 3'' | 172 | ||
語言:簡體中文
English
Русский
簡體中文












