隨著科技的進步和生產技術的提高,工業上對于蝶閥的要求,不再是簡單的對常溫低壓介質的截斷和調節,更需要蝶閥在高溫、高壓環境中發揮作用。為此三偏心蝶閥應用而生,并且已經取代一些閘閥、截止閥、球閥等閥門在工業中的應用。三偏心蝶閥的結構是什么樣的?三偏心蝶閥的結構特點是什么?
三偏心蝶閥結構
三偏心蝶閥屬于硬密封蝶閥,該類蝶閥采用三偏心密封結構,具有結構緊湊、啟閉速度快、操作省力輕便、密封性能可靠等特點,適用于各種工況管道中,用來截斷或調節介質流量。三偏心蝶閥目前廣泛應用在電力、冶金、石油、化工、城市供熱等行業。

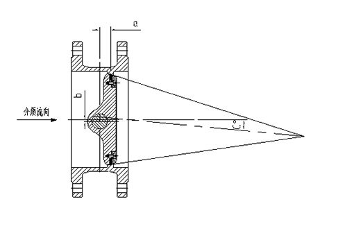
三偏心蝶閥結構圖
1、閥體、蝶板密封面形狀為橢圓錐形,閥體、蝶板密封錐面的中心線與閥體通道中心線有一偏心夾角c°。
2、閥體、蝶板密封面的中心線與閥桿軸有一個軸向偏心距a。
3、閥桿中心線與閥體中心線有一個徑向偏心距b。
這就是三偏心蝶閥的三個偏心。那么三偏心蝶閥結構有什么特點呢?
1.特有的三偏心設計,閥體與蝶板的密封面之間摩擦系數極小,減小了密封面的磨損,閥門使用壽命得以延長。
2.偏心設計使閥門啟閉扭矩減小,啟閉更迅速。
3.閥體與蝶板直接的錐形設計,如上圖所示,當蝶板關閉時,介質對蝶板產生壓力,錐形的設計使閥門越關越緊,實現自動密封,極大的提升了密封性能,真正做到零泄漏。
4.可以根據客戶需求或工況條件,配備不同的驅動方式,如安裝氣動、電動執行器來讓三偏心蝶閥實現自動化操作等。
5.蝶板上的密封圈由不銹鋼薄板與柔性石墨壓合而成,同時具備了金屬的剛性和非金屬的彈性,也使得三偏心蝶閥同時具備了金屬硬密封和彈性密封的優點,不論是低溫環境還是高溫工況,都能實現良好的密封性能。
想要了解更多關于三偏心金屬硬密封蝶閥知識,請多多關注“般德閥門”官網。如果您有這方面閥門的需求,也歡迎您來電咨詢。
上一篇:法蘭蝶閥安裝方法
下一篇:手動通風蝶閥介紹
語言:簡體中文
English
Русский
簡體中文





